一、功能说明
自动上传发票功能,支持亚马逊欧洲区全站点(英国、法国、德国、意大利、西班牙、波兰、瑞典、荷兰、爱尔兰、比利时、阿联酋、沙特阿拉伯、埃及、印度、土耳其)订单,(亚马逊政策要求,订单标记发货后24小时内上传VAT发票)。
二、字段来源以及更新时效
1.开启自动上传发票,亚马逊后台已发货状态且同步到赛狐的FBA 、FBM订单,每小时自动上传一次;
2.VAT设置开启之后,每小时会跑历史最近7天的订单数据;
三、开通税务设置
需在亚马逊后台开通税务设置,开通后需亚马逊官方审核通过(审核通过时长为7天左右),审核通过后方可自动上传。
注意:支持站点:欧洲区全站点(英国、法国、德国、意大利、西班牙、波兰、瑞典、荷兰、爱尔兰、比利时、阿联酋、沙特阿拉伯、埃及、印度、土耳其)上传发票。
操作步骤:
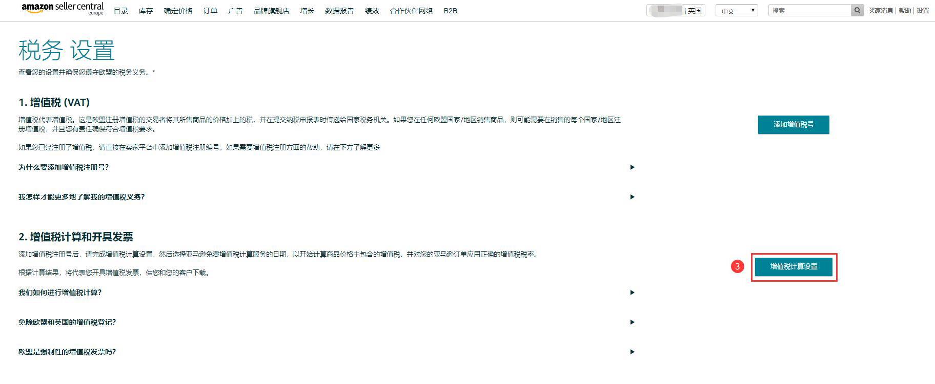
1.亚马逊后台,点击设置,选择“税务设置”;

2.进入税务设置页面后,点击“增值税计算设置”>“更改增值税设置”;

3.编辑并确认配送地址;

4.配送地址完成后,亚马逊会进行审核,审核通过才会显示下图中生成发票的页面;
(1)有税号的卖家,建议直接选择“我希望亚马逊自动生成VAT发票”,选择后,亚马逊会自动上传发票。如果担心亚马逊漏传,可以在赛狐也开启自动上传,双重保障。
(2)没有税号的卖家,建议选择“我会上传自己的VAT发票”(如果需要选择第三方,勾选Dianxiaomi),选择后,在赛狐系统开启自动上传。
注意:如果在设置时,找不到“生成发票”选项,请联系亚马逊客服开case处理。

四、操作说明
1、上传设置
开启自动上传后,系统每小时会跑一次订单,符合的订单会自动上传发票,避免耽误上传发票的最佳时机。
1.设置
(1)后台成功开通设置后,开启进入赛狐页面【客服】>【VAT管理】;点击“设置”,填写相关信息,点击“确认”保存;
(2)选择上传对象:全部订单、企业订单(B2B);
(3)填写公司名称、公司地址、税号、税率;
(4)税率为必填项,该税率仅用于生成VAT发票内容,下拉输⼊框,选择:19% 德国,20% 英国、法国,21% 西班牙、荷兰、比利时,22%意大利,23% 波兰、爱尔兰,25% 瑞典,0% 生成0税率票据,5% 阿联酋,15% 沙特阿拉伯,
18% 印度、土耳其。会自动匹配一轮税率,历史已有数据不做更改,数据为空的匹配默认税率。针对特定产品,采用特定税率的可以填写到其他税率,ASIN最多添加200个。

2.点击状态按钮,即可开启自动上传。

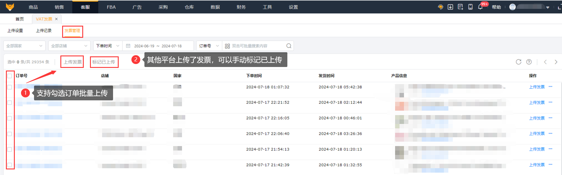
2、上传记录
1.查看发票上传记录:上传成功、上传失败、上传中、亚马逊上传;上传失败会显示失败原因。
2.发票类型自动识别:交易状态为refund退款标记为贷记票;交易状态为return退货标记为贷记票;交易状态为shipment发货标记为发票。
3.针对自动上传失败的订单可以批量勾选订单手动上传发票;如果订单已在其他平台上传了发票也支持对订单标记已上传。


3、发票管理
1.展示该订单需要上传发票的发货信息,支持手动上传发票,如果订单已在其他平台上传了发票也支持对订单标记已上传。

2.发票上传模板
票据类型:发票,贷记票,收据。
发票:是针对订单下单后一个工作日内进行上传的发票,发票内容是正数;
收据:是针对发货国没有增值税号订单,亚马逊会返回部分订单进行告知我们可上传收据进行处理;
贷记单:是针对订单退货后一个工作日内需要进行上传贷记单进行抵扣之前上传的发票,贷记单内容是负数,样式为credit note。

4、其他入口
发票其他入口:【订单】>【全部订单-亚马逊】页面,点击订单右边三个点或者点击订单号进入订单详情,点击上传发票,填写相关信息即可生成发票,发票支持导出,若已经绑定赛狐专属邮箱,可以点击发送邮件,可以快速将发票通过邮件发送给买家;也可以点击上传发票提交至亚马逊。



五、常见问题
Q1:是否可以只上传收据?
A1:如果是中国自发货可以用收据。但是如果从英国或欧盟储存的库存配送订单,则必须提供有效的发货国的增值税发票。亚马逊无法为缺少商品发货国家/地区增值税税号的货件计算增值税。
Q2:为什么有税号,但还是显示发票缺陷率高?
A2:如果您使用泛欧计划或者中欧计划,那么您很有可能在波兰或者捷克存放库存配送订单。按照IDR 的需求,您需要提供发货国的VAT税号。
Q3:为什么赛狐设置自动上传发票,还有部分订单没有上传?
A3:关于部分订单没有自动上传发票的问题,一般是VAT报告未返回数据,我们观察下来亚马逊返回的报告数据是有延迟的,系统也做了补偿机制去对于18-30小时的订单重新发送,若没有获取到数据,系统是无法自动上传,需要咱们手动去上传;在【订单】-【全部订单-亚马逊】去操作。
若需要核对原表,我们可以去下载《亚马逊增值税交易报告》核对,亚马逊和赛狐都可以下载原表哈


Q4:数据来源是VAT报告的订单,发票地址取值逻辑?
A4:自动上传发票地址取VAT报告的地址,手动上传取店铺授权或者上传设置填写的企业地址。

