一、功能说明
快速锁定异常子体,及时止损;可下钻分析主要退货原因;
买家之声差评处理,助力提升产品曝光;
及时感知退货,提前退款,降低低客单价产品的退货成本。
二、数据来源及更新时效
1、更新时效
授权后可查看90天的退货订单数据,1天更新1次,刚开始同步需要30分钟-1小时;
买家之声数据第一次同步之后,每周一11:00~14:00时间段内会自动同步数据,插件同步全部数据;
退货报告数据一天一次同步。
2、数据来源
2.1 FBA退货
亚马逊退货报表下载位置: 【数据报告】>【库存与销售报告】>【亚马逊物流买家退货】。


2.2 FBM退货
亚马逊退货报表下载位置: 【订单】>【管理退货】。

三、操作说明
1、入口
入口1:【订单】>【退货订单】
入口2:【客服】>【退货分析】
2、开启任务状态
前提条件:需要在【设置】-【任务中心】里面开启按钮,同时在登录店铺的浏览器安装并登录赛狐插件。注:退货处理指标第一次同步之后,每7日定期更新(仅支持美国站且非鞋服类产品);买家之声第一次同步之后,每周一11:00~14:00时间段内会自动同步数据。
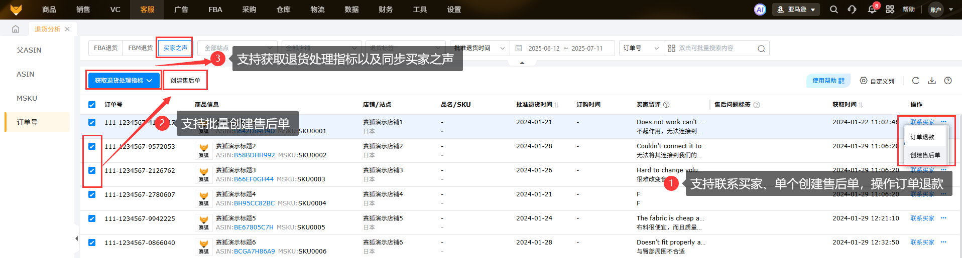
3、获取退货处理指标/买家之声
父ASIN、ASIN、MSKU、订单号维度均可进行同步,点击获取退货处理指标/同步买家之声,创建同步任务即可进行获取数据。

四、退货数据分析
1、父ASIN维度
(1)点击退货分析图标可以进入退货分析页面;(2)父ASIN维度支持多维度多属性进行筛选查看数据,例如:裙子有color和size两个维度的属性,color有红黄蓝3个值,size有S/M/L3个值,可以从多维度的各个属性去查看数据;

(3)点击分析图标,可以下钻分析查看该原因下退货的子体具体有哪些;

(4)买家反馈部分集成了退货订单报告里用户的反馈,以及买家之声的反馈。

2、MSKU维度
(1)页面展示买家不满意率、买家不满意订单等数据;
(2)支持设置最多10个异常规则,预警消息一周推送一次;


(3)进入分析详情,支持获取退货处理指标;

(4)类目退货洞察(ASIN、MSKU维度独有)
取自后台商机探测器,系统通过接口获取数据;展示各退货主题占比(包含提及率、环比)和退货话题趋势,可根据整个类目的退货主题占比和趋势找到产品的优化方向;
环比计算方式:(最近1个月/上个月 - 1)*100%,小于0为下降,大于0为上升;
功能目前仅支持以下站点:美国、英国、法国、意大利、德国、西班牙、日本;
仅适用单个站点,若勾选多个站点时,此模块不展示数据;
展示最近6个月的数据,模块左上角展示获取当前已获取数据对应的时间范围。

(5)退货分析页面增加买家之声-买家不满意率(MSKU维度独有)、买家之声-近期反馈问题(MSKU维度独有)。

3、订单维度
3.1 FBA退货
3.1.1 页面查看
支持按不同搜索条件搜索退货订单;默认按退货时间降序排序、支持批量设置店铺、备注、创建售后单。
退货时间:退货入库的时间;
LPN编号:取自于FBA退货报告,商品退货到亚马逊后,会被贴上LPN标签,即退货标签。
3.1.2 手动绑定店铺
系统无法识别退货订单对应的店铺时,支持手动绑定店铺,勾选对应的订单,点击"设置店铺",选择对应的店铺即可。
支持批量勾选订单
注:设置好店铺后不支持修改和取消选择
3.2FBM退货
支持运营人员核算FBM退货订单成本以及走查FBM退货商品是否入库等;
帮助运营人员在系统进行FBM退货订单的统⼀管理。
3.2.1 页面查看
亚马逊RMA单号:取自于FBM退货报告,当客户想要退款时,亚马逊会发出此号码以进行跟踪,客户可使用此号码跟踪退款状态;
售后间隔天数:退货时间-订购时间;
退货时间:发起退货申请的时间;
3.3 买家之声
支持获取退货处理指标、创建售后单、联系买家和操作订单退款。
五、常见问题
Q1:退货的数据归属是当前月份还是订单订购的月份?
A1:可以在退货分析的右上角选择是否按订购时间溯源。
Q2:什么是经常退货的商品标记?
A2:被亚马逊判定为经常退货的商品,买家会在Listing上看见“经常退货商品”的标签。2025上半年起,此标签权重升高(位置上移+飘红),进一步影响转化率。


Q3:怎么同步退货标签?
A3:方法一:插件管理 > 任务中心 > 任务列表,开启获取买家之声任务;
方法二:退货分析页面,点击“同步买家之声”按钮;
目前该功能仅支持美国站点;
Q4:如何开启退货标记提醒?
A4:步骤一:确保开启A3所述的插件任务;
步骤二:开启退货标记提醒;
步骤三:设置开启提醒后每天早上9:00触发提醒;
Q5:【FBA退货】退货时间是指退货入库的时间?还是买家发起退货的时间?
A5:是指退货入库的时间。
Q6:在亚马逊后台下载美国5月“亚马逊物流买家退货”报告与赛狐的5月FBA退货订单数据对不上?
A6:这是时间转化问题,报表里的时间是站点时间,而与美国站点时间差8个小时,我们系统的退货时间是UTC时间--零时区。

