仓库
质检单
分享
一、功能说明
便于采购和仓库之间的联系,及时进行质检并判断是否需要退回或者跟供应商换货,方便在收货后业务及时知晓商品情况作出相应解决措施,了解工厂商品合格率。
需要在子账号设置页面有勾选仓库的权限才能看见对应仓库的单据以及筛选对应仓库。
二、操作说明
1、开启质检
1.1在【设置】>【业务设置】>采购,勾选“开启质检流程”,即可开启使用该功能;

1.2在【商品列表】里给需要质检的商品,开启“质检流程”,支持批量编辑;
注意:假如没有在这里开启“质检流程”,该商品就不能进行质检操作。
2、采购到货
商品开启质检流程后,只要该SKU有采购待到货状态的商品,操作到货后都会进入【仓库】>【质检单】的质检任务页;部分到货也能进行质检。
3、质检操作
3.1开启审批流程
在【设置】>【业务设置】>【审批】,开启质检单的审批流程,编辑审核流程和审核人等。

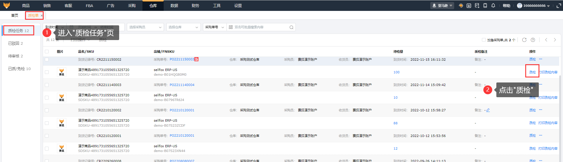
3.2.质检
进入【仓库】>【质检单】,在“质检任务”页,点击“质检”,输入已经质检的数量,这部分数量里的良品数和次品数,支持添加备注和上传附件,点击“保存”即可;
注意:支持分批到货,分批质检。
以加工商品成品采购的质检单,待检量右侧下⻆标展现子商品对应比例和子商品数量。
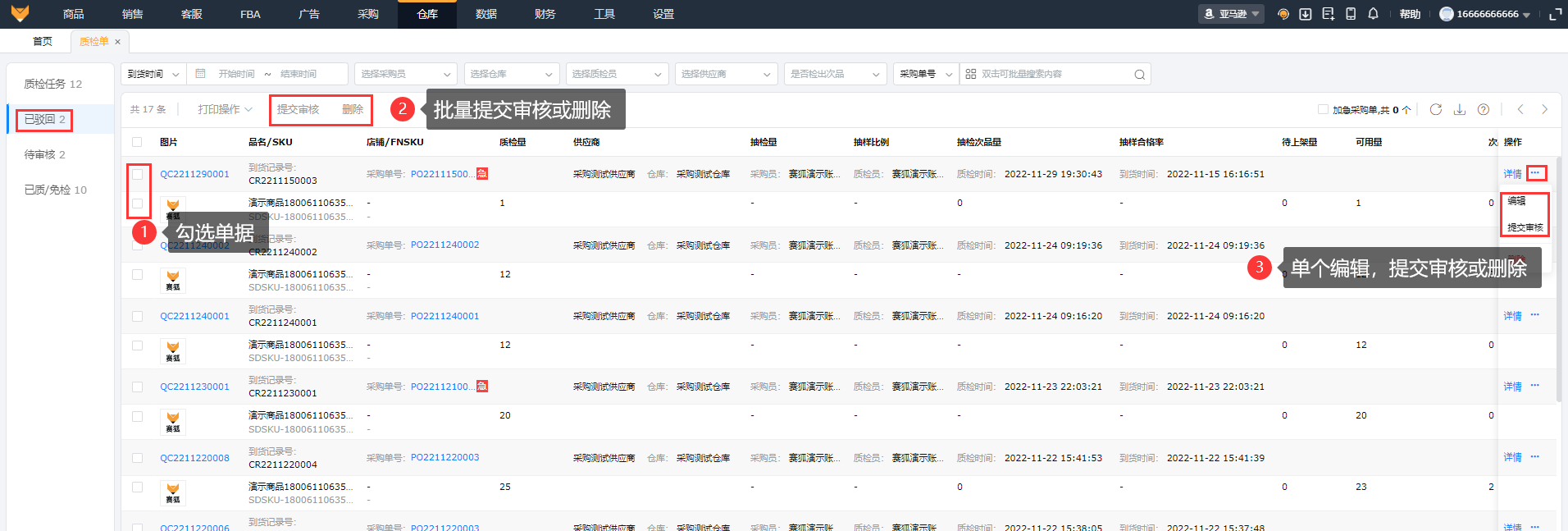
3.3审核
开启了质检单的审核流程,在操作质检完成后,质检单会流转到待审核;可在待审核页面审核质检后的单据。


审核驳回的单据会流转到驳回。

没有开启质检流程的商品,在操作到货后,将流转到“已质/免检”页面;支持通过筛选查看哪些是免检流转进入的商品;支持筛选到货时间、采购员、质检员、供应商、是否检出次品进行查看。
3.4抽检
抽检功能可以记录抽样比例、抽样合格率。
三、常见问题
Q1:质检单支持打印整个单据数量的汇总值吗?A1:支持,在工具-打印模板可以自定义单据里面的字段,其中可以选择汇总值。

