一、功能操作
采购单是从供货商买进商品到采购入库整个过程的管理,支持添加加工商品并占用本地库存。
采购单系统操作流程图:

二、操作说明
1、创建采购单
1.1 点击【创建采购单】按钮,支持自定义采购单号,不填则自动生成;选择采购到货仓库,添加/导入商品,选择供应商名称和预计到货时间,运费及费用分配方式创建的采购单,支持选择采购币种、编辑汇率。填写完商品信息,点击保存草稿,采购单进入草稿。
1.2 点击保存并下单采购单会进入待下单;点击提交,采购单会进入待到货。
支持【店铺+FNSKU+供应商+采购单价+预计到货时间】任一字段值不同,则创建不同的一条数据。
注意:(1)费用分配方式:不分配,按金额,按数量;不分配就是不计算“运费+其他费用”成本;
(2)预计到货时间:可以填写预计到货时间,后续可通过采购单查看商品是否按时到货;
(3)“急”的标识,方便相关同事查看处理。是否加急:对于比较紧急或者关注的采购单,可以勾选加急,后续采购单会有;
(4)备注(业务设置-开启采购备注同步后,创建新的采购单会将商品采购备注同步到对应的采购单中);
(5)选择开启加工商品成品采购后,可直接采购加工商品成品。
(6)供应商支持下拉选择商品的关联供应商和非关联供应商,可以快速查看单个商品sku关联的多个供应商。

1.3 创建采购单支持识别excel里的SKU、采购量采购单价数据
用户复制表格信息到品名/SKU输入框,识别后回显数据到商品明细中
注:批量粘贴:支持复制 SKU、采购量、采购单价,自动忽略其他数据
字段要求:SKU 必填,采购量和采购单价选填
行数限制:单次粘贴最多 200 行

2、采购单操作流程
2.1 草稿
草稿页面,草稿状态的采购单可以任意修改;采购单支持同一个商品SKU可以添加多次,移入待下单会将同一商品SKU的采购数量相加汇总;
支持多供货商商品统一创建采购单,系统自动识别拆分多条采购单;
草稿状态下支持合并采购单、拆分采购单、普通下单、1688下单。1688下单后流转到待审核,若采购单包含多个供应商,无法进行1688下单。

2.2 采购单审核
(1)设置-业务设置-采购设置,开启采购单审核;
(2)当开启采购单审核流程后,采购单板块会显示“驳回”和“待审核”功能,
①审核通过:会移入“待下单”页面,进入详情,会有审核人名称,日期和审核说明;
创建的采购单会进入待审核,等待审核人员审核订单,审核结果是通过,驳回,填写审核说明;(注意:没有开审核权限的子账号,只能看到自己创建的采购单在审核里。)

②审核驳回:进入“驳回”页面,进入详情,会有审核人名称,日期和审核说明,修改采购单内容,重新提交审核;
已经提交待审核的采购单在被审核之前支持修改,可以点击编辑进行修改,可修改内容和草稿状态的采购单一致。
注:需要在审批流设置时开启【单据已提交审核单未进行审批时,允许编辑】。


2.3 待下单
采购单可以单个或批量去设为/取消加急,支持筛选加急采购单;
2.4 待到货
(1)采购单已推送到 “仓库-待到货”,支持操作到货/取消采购单。支持单个或批量设为/取消加急。支持勾选仅展示待到货商品。
(2)支持单据结束到货以及商品结束到货。

(3)当我们操作失误到货了部分商品,支持撤销到货。
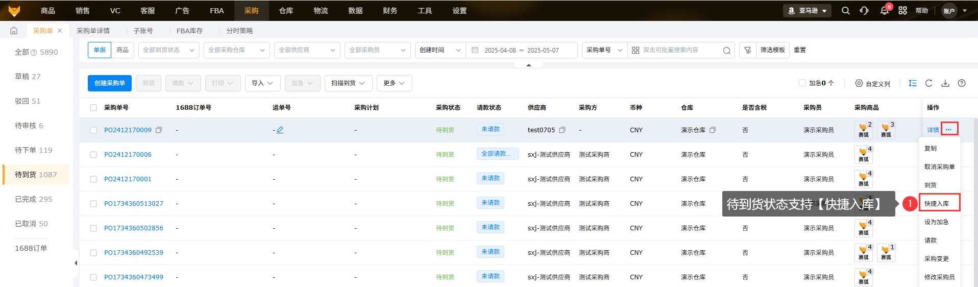
(4)支持快捷入库:到货时直接跳过质检、上架等流程直接入库。

(5)如果每批货物收货时,需要单独记录每批收货的费用,并将对应成本进行入库,可以在操作到货时录入运费和其他费数据,费用分摊到产品上的方式按照采购单中填写的分摊方式进行。
(6)可以手动添加运单号,支持编辑和删除,录入的运单号只支持数字和字母,添加运单号数量不可超过20个。
非1688采购单手动添加的运单号,通过17track获取,可能存在获取不到的情况。
注:1688同步过来的运单号不支持编辑和删除。
(7)采购单及待到货,移入运单号显示物流追踪信息,17track可以获取的运单号下拉运单号显示物流追踪信息。
采购单的运单号支持批量导入;
手动添加的没有查到信息的,显示没有信息。
(8)采购单待到货状态和已完成状态下且结算方式为现付或者账期才支持操作请款,并且支持1688请款、批量请款、合并请款,对单个采购单能进行多次请款。
①1688请款:支持对1688订单请款,勾选采购单号,点击“请款”,选择“1688请款”,填写期望付款时间、备注、申请折扣,点击“确定”。

②批量请款:针对非1688订单,一个采购单生成一个请款单。勾选采购单号,点击“请款”,选择“批量请款”,填写付款方式、选择申请比例,填写本次申请/已申请贷款、运费、其他费、折扣等信息。
注:非未请款/部分请款不能操作,供应商名称、结算方式为空不允许请款。


③合并请款:针对非1688订单,多个采购单合并生成一个请款。勾选采购单号,点击“请款”,选择“合并请款”,填写请款单,支持修改结算方式、申请比例、付款方式,填写本次申请/已申请贷款、运费、其他费、折扣等信息。
注:合并请款的采购单需为相同的供应商、结算方式、下单类型。


④设为免付:点击“请款”下拉点击“设为免付”,可以将结算方式为账期和现付的采购单、1688采购单支持设为免付,即手动标记采购单无需请款;也可以取消免付;

⑤支持对单个采购单进行多次请款,点击“更多”,选择“请款”,填写请款单并提交。
列表展示请款状态的标签,支持筛选采购单的请款状态,查看请款情况。
(9)1688采购单未关联请款单和付款的情况下,可以手动更新1688差额。

2.5 已完成
支持打印、请款、退货、修改采购员、采购变更等操作,查看部分到货和已经到货的采购单,对采购单撤销到货;
若采购单全部退货退款,且没有请款,则显示无需请款;
若采购单入库退货后,且未请款,通过结束剩余到货,这时候也会显示无需请款。

2.6 已取消
取消后的采购单只支持查看和备注;采购单未请款,且取消采购单后,则显示无需请款。

3、采购单-拆合单
3.1 拆分采购单
在草稿、驳回、待下单、待到货状态下,可对采购单进行拆分;
在草稿、驳回、待下单状态下,可拆分量=采购量;在待到货状态下,可拆分量=待到货量。
注:(1)存在未完成采购变更单、存在请款单、存在未完成退货单,1688订单以及加工商品均不支持拆分,拆分不存在还原操作。
(2)一个采购单最多可拆分10个采购单,被拆分后的采购单仍然可以继续拆分。


3.2 合并采购单
在草稿、驳回、待下单状态下,采购仓库相同的采购单可进行合并;
在草稿、驳回状态下点击合并后即可完成合并;开启审核时,待下单状态合并后,单据流转到待审核。
注:单次支持10个采购单进行合并;不支持跨状态合并;1688订单不支持合并。


4、1688下单
4.1 入口1:【采购单】>【待审核】,审核1688订单,移入【待到货】;
入口2:【采购单】>【待下单】,通过采购单直接下单到1688后台,移入【待到货】。
4.2 1688下单操作流程
第一步,在草稿状态下进行1688下单或在待下单页面,点击1688下单后,填写相关信息,无误后点1688下单到待到货界面。
点击【1688下单】,采购信息无法修改,填写1688信息的供应商名称和1688账号,交易方式和收货地址。
在1688下单中,商品列表的1688商品名称可以添加和修改配对关系。注:采购币种非CNY的采购单无法进行1688下单。



第二步,通过1688下单的采购单,在待到货页面会有“1688”标识。
①待到货页面点击‘’更多‘’按钮,可点击取消1688订单,对于部分到货的采购单,则无法取消1688订单;取消1688订单时,关联的采购单可以操作退回到“待下单”状态,下次继续下单采购,或者是直接取消采购单。
②待到货页面点击‘’更多‘’按钮,如果已请款则不显示“申请1688请款”标识,反之则有;
③当请款金额与1688总额不一致时则无法进行请款,需要通过申请折扣来进行调整,申请折扣可以填写正数和负数,支持两位小数,实际请款金额=申请金额-申请折扣。


④标签:“1688”、“差异”,“已请款”
1688标签:1688订单生成的采购单。
差异标签:采购总金额和1688下单金额不一致的采购单,有差异的采购单无法请款。
已请款标签:已经申请1688请款的采购单。

第三步,已完成状态,未请款的显示1688请款按钮,如果是已请款,则不显示。
如果在1688下单中选择的交易方式是账期交易,则请款成功后,同时生成已完成的付款单。
注意:已申请1688请款的采购单,无法进行采购单变更。
5、采购单-加工商品
加工商品的子商品SKU占用本地库存,支持批量自动占用,帮助快速填充本地占用数据,并自动计算出需要采购的数量;
(1)添加加工商品
第一:在草稿箱状态时,添加加工商品采购总数量时,系统支持更改本地占用量,支持批量自动占用,并自动计算出需要采购的数量;
第二:移入待下单状态时,加工商品将自动生成待到货的加工单记录,采购单到货后子商品SKU将被占用;若加工商品的子商品可能单独售卖,若需采购请单独添加单品;

(2)加工商品占用释放库存逻辑
A、当加工商品的某一子商品数量更改时,若其他子商品都是在库商品,则释放在库库存;
B、若其他子商品已经下单在途,则入库前子商品数量都不变,直到入库数量达到加工商品所需数量锁定符合数量的子商品库存,多余的库存会自动入库
6、列表操作
6.1 导入/导出采购单
(1)批量导入采购单

(2)导出及打印采购单
①支持自定义导出采购单数据,包括导出采购单图片;
其中导出的字段可以选择采购总额,该字段反应的是每个采购单总的采购金额,该导出的字段是受到数据范围组限制的,如果在数据范围组中的字段权限中针对采购单价不可见的话,则导出该字段在导出模版中会以***展示。

同时还支持导出物流轨迹字段,但需要注意的是,该字段如果对应的采购单有多个运单号,仅导出其中最新物流轨迹对应运单号的一条轨迹信息。
②支持打印或批量打印采购单

6.2 自定义设置列
支持自定义设置采购单展示列的字段,分为父项和子项,上下拖动调整列顺序。

6.3 修改采购员
采购单在待下单、待到货、已完成、已取消状态下均支持勾选采购单来修改采购员。
6.4 修改预计到货时间
采购单在待下单、待到货支持勾选采购单来修改预计到货时间。

6.5 撤销到货
采购单在待到货、已完成状态下支持撤销到货。
注意:采购单入库后的库存出库后不支持撤销到货;入库的库存被占用了不支持撤销到货;采购单关联的下游单据被处理后不支持撤销到货(比如关联待审核/已全部/部分质检的质检单;关联上架中/已上架的上架单;关联处理中/已处理的入库异常单;关联部分/全部请款的采购入库单;关联部分/全部退货的采购入库单,不支持撤销)。
撤销到货支持三个维度:支持按整个采购单撤销到货;支持按SKU维度撤销到货(①采购单-SKU;②到货记录-SKU);支持按整单到货记录进行撤销。


6.6 批量变更
采购单在待下单、待到货、已完成状态下均支持勾选采购单进行采购变更。


6.7 采购来源
若该采购单所添加的商品,在【商品列表】维护了采购链接的信息,则该采购单下将显示“来源”,点击“来源”可跳转相关网页;
6.8 查看商品详情
点击商品的SKU,显示商品详细信息;
注:只有开启商品板块的查看权限才可以查看。
6.9 采购单排序
采购单支持按照更新时间、创建时间、下单时间和SKU排序。
6.10 展示状态流转时间
采购单是有不同节点,包括创建、审核、下单、发货、到货各个采购流程。这些节点反应了采购员处理的时效和供应商发货的时效,所以记录是很有必要的。
在【采购单】“待到货”“已完成”列表支持展示下单时间、首次到货时间、全部到货时间、完成时间,如果没有则不显示时间。
6.11 操作日志
操作日志记录采购单各个流程的操作信息,便于日常管理以及问题追溯。
【采购单】列表可以点“详情”进去查看操作日志,可以查看操作时间、操作人、操作内容。
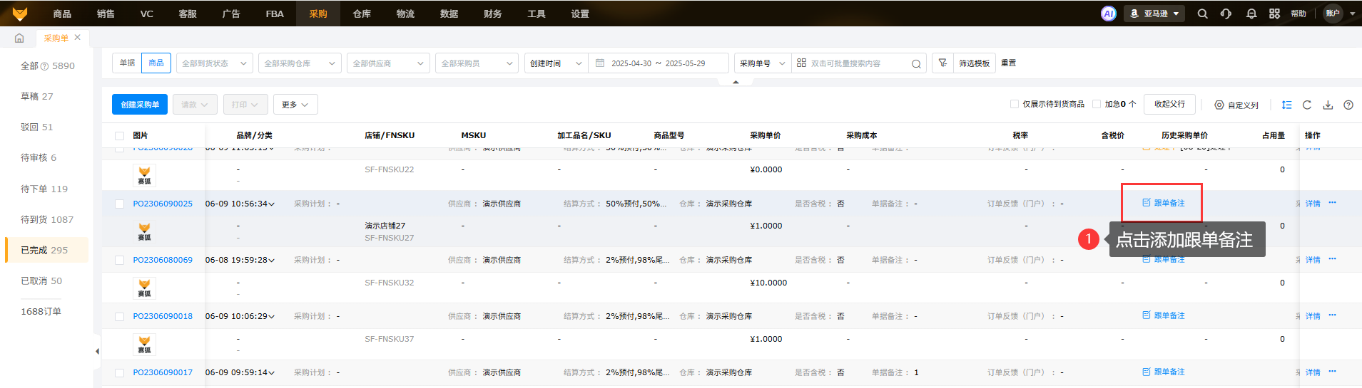
6.12 跟单备注
用于及时记录采购单当前跟进状态,如与供应商商讨采购价格、供应商生产进度、物流跟踪等情况的记录跟进;
跟单描述可以自定义,最多支持输入500字符;跟单状态可以选择任务是待处理、处理中、异常或者是已完成的,跟进人默认是跟单备注创建人,跟单时间是备注创建时间。一个采购单最多添加30条跟单备注
(1)添加跟单备注

(2)完成跟单

(3)跟单历史查看

6.13 筛选模板
根据需要的条件创建筛选模板,快速定位还需要跟进的采购单;例如要筛选供应商已发货但未收货的订单,可以创建筛选条件:采购单状态:待到货、是否有运单号:是、到货状态:未到货、下单时间:最近30天;通过筛选条件找到采购单,及时处理采购单。
(1)创建模板
可以创建公共模板和个人模板,每个类型的模板最多添加20个
公共模板:所有账户都可以查看;个人模板:只有创建的账户可以查看

创建好的模板,下次就可以点击“筛选模板”,直接选择模板进行筛选

(2)修改模板
选择模板筛选后,可以重新点击漏斗,添加筛选条件,点击“更新模板”保存进行修改
创建好的模板支持修改模板或是删除
6.14 采购到货
点击【扫描到货】选择【采购单到货】,直接进入扫描到货新开页面,扫描输入框可扫描或者输入采购单号或者运单号,点击【确认】按钮或者按下回车后会操作到货(如果是扫描操作,系统自动回车)显示采购单到货详情;支持点击选择采购单,手动选择单据;支持勾选确定采购单后自动打印,设置自动打印后点击确认则自动打印采购单下的SKU标签(数量按照待到货量打印)。注意:在用扫描枪扫描入库时需要把鼠标定位到输入框里。
扫描/输入SKU/识别码、FNSKU、商品编码之后,点击【确认】按钮或者回车,扫描输入框右侧的本次采购单扫描到货数量和对应的SKU本次到货量+1;支持在这边打印商品的SKU标签和FNSKU标签。

6.14SKU到货
在【采购单】点击【扫描到货】-【SKU到货】支持扫描或者输入SKU/识别码、FNSKU、商品编码入库
注:采购单需要是在待到货状态

扫描或者输入SKU后选择供应商,点击【确定】后显示SKU采购到货详情且本地扫描到货量+1
注意:需要选择正确对应的供应商和仓库才会显示详情,重新选择供应商后,页面数据会全部清空

进入SKU采购到货页面,点击【选择商品】,添加sku成功选择供应商后,显示SKU采购单详情


6.16 更新价格
在创建、编辑采购单,创建采购变更单时,支出选择是否“更新价格”,当选择“是”采购单中的采购单价、是否含税、含税价、税率和币种会同步更新到商品列表的采购信息的关联供应商的报价信息中;选择“否”就不会影响商品列表中SKU的采购信息
更新的节点:1、当采购单由待下单操作下单时更新商品列表中的采购单价信息;2、当采购变更单审核通过时


7、超量入库
7.1业务设置
先在设置--业务设置--采购里开启超量到货,开启后即可超量入库设置

勾选【超量入库】,超量到货部分将生成采购单价与原采购单价相等的采购变更单
(1)当采购单到货,本次到货量大于待到货量时,出现弹窗提醒

(2)点击【确定】,确认到货后在【采购】--【采购变更单】里生成一个采购单价与原采购单价相等的采购变更单。
(3)勾选【赠品入库】,超量到货部分将生成采购单价为0的采购变更单 。

(4)确认到货后,在【采购】--【采购变更单】里将超量到货部分在采购单中新增一条商品信息,挂靠在原商品信息下方。赠品采购单在之后的变更中可编辑数量,不可编辑采购单价,采购单价为0。

7.3 1688采购单超量入库
默认勾选【赠品入库】,不可调整,超量到货部分将生成采购单价为0的采购变更单。
三、常见问题
Q1:采购单创建完了,仓库人员要在哪里操作到货?
A1:在【仓库】>【待到货】里进行到货操作。
Q2:采购过程中的运费和其他费用如何分摊?
A2:在采购单添加运费和其他费用,可通过按照金额、数量分摊或者不分摊。
Q3:采购单的费用分配方式,数量和金额怎么区分?
A3:采购计划生成采购单,选择按数量分配,则生成的采购单费用,按产品数量占比分配运费及其他费;采购计划生成采购单,选择按金额分配,则生成的采购单费用,按产品金额占比分配运费及其他费。
Q4:净到货量是什么意思呢?
A4:净到货量=到货量-已处理异常量-退货换货量-退货退款量
其中已处理异常量包含如下三部分:
(1)来料残次,进行退货换货的处理的已处理异常量
(2)货不对板,进行新建采购单,采购变更,退货换货的已处理异常量
(3)多到货,进行新建采购单,退货退款的已处理异常量
Q5:物流轨迹字段怎么不更新了?
A5:普通订单、1688订单都仅更新2个月内下单时间的单据对应的物流轨迹,已完成状态的采购单对应的物流轨迹不会更新。
Q6:可以变更仓库吗?在哪里可以查看记录?
A6:可以变更,在库存流水会展示对应的变更情况,采购变更单也会展示变更前后的仓库。
Q7:为什么有些采购单在页面没有显示,导入采购单还有导入变更的时候也没有想要选择的仓库?
A7:需要在子账号设置页面有勾选对应仓库的权限。
Q8:采购单怎么没有带出采购员?
A8:只有创建采购计划才会带出商品列表里设置的采购员,采购计划里有显示采购员生成采购单就会自动带出
如果是直接创建的采购单,不会带出商品列表里的采购员
Q9:采购单到货的时候可以批量设置货架位吗?
A9:可以批量设置货架位,需要同时满足下述条件,才会展示:a:仓库已启用货架位管理;b:执行到货页面,仅有一个<采购仓库>;c:该仓库已启用<一批次一货架位>。
Q10:提交单据时采购员的优先级是什么?
A10:列表采购员>表头采购员>单据创建人。
Q11:采购单勾选自动生成加工单的时候,可以自动带出辅料吗?
A11:可以,需要在【业务设置】-【仓库】开启加工单环节消耗辅料设置。

