一、功能说明
采购计划是运营和采购之间的联系,运营添加采购计划后,采购人员可根据计划进行相应的采购。
二、操作说明
1、创建采购计划
1.1 点击【创建采购计划】,选择采购仓库,填写备注、上传附件,再点击【添加商品】(一个相同SKU支持多次添加),选择商品的站点/店铺、FNSKU,填写单项数量、箱数、计划采购量、供应商、预计到货时间、采购员、备注,点击【提交】即可添加完成。
注:添加商品支持识别从EXCEL复制黏贴过来的SKU信息(SKU和计划采购量),复制的EXCEL表格商品信息第一列必须是SKU。
1.2 备注(设置-业务设置-采购-开启采购备注同步后,创建新的采购计划会将商品采购备注同步到对应的采购计划中)
注意:一个计划最多能上传10个附件。


1.3 支持批量导入采购计划,点击【导入采购计划】-点击【下载模板】,填写号模板后点击添加文件,点击导入即可批量创建采购计划。

1.4 支持复制采购计划

2、审核采购计划
2.1 设置-业务设置-采购设置,开启采购计划审核和采购计划状态回退,支持退回到待采购状态;

2.2 当开启采购单审核流程后,采购单板块会显示“驳回”和“待审核”功能,创建的采购单会进入待审核,等待审核人员审核订单,审核结果是通过,驳回,填写审核说明;
(1)审核通过:会移入“待采购”页面,进入详情,会有审核人名称,日期和审核说明;


(2)审核驳回:进入“驳回”页面,进入详情,会有审核人名称,日期和审核说明,修改采购单内容,重新提交审核;
(3)反审核:采购计划审核通过后,运营人员如果发觉需要修改采购计划数据,可以反审核,然后重新提交。

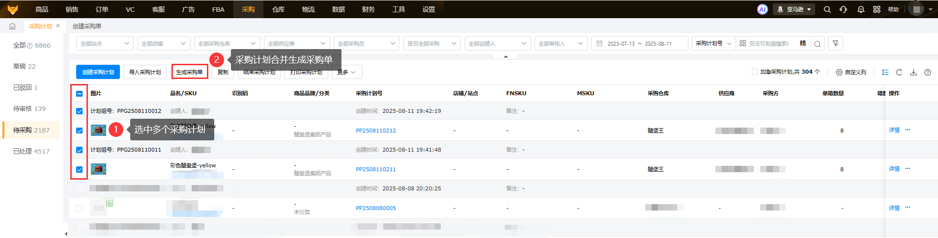
3、生成采购单
采购人员可以根据实际情况勾选采购计划,进行【生成采购单】,支持分批下单,采购计划中备注和附件会同步至采购单中;
3.1 操作:点击【生成采购单】,选择费用的分配方式,若该计划里的商品有统一供应商、仓库、采购员,也能进行相应的选择;
根据实际情况,填写实际采购量、单价、供应商、仓库、备注,如果有加急或者关注的采购单,可以勾选加急,后续采购单会有“急”的标识,最后点击【提交】即可生成。

3.2 加工商品也支持添加采购计划,并生成采购单。
如子产品都属于统一供应商或统一仓库,可快速选填;填写子产品的实际采购量,单价,供应商,仓库;如果有加急或者关注的采购单,可以勾选加急,后续采购单会有“急”的标识。
可开启加工商品成品采购,该按钮默认不勾选,勾选后则下方列表中加工产品以成品展示(后续添加新的加工产品同样以成品展示)同时采购量右侧下⻆标展现子商品对应比例和子商品数量;
每次勾选后都需要记住上次勾选的状态,本地缓存记录,清空缓存则继续默认为不勾选。
当加工商品成品采购按钮切换时,之前填写的采购量及单价进行保留。
3.3当有多个采购计划要合并生成一个采购单,并且多个计划都有相同的SKU,可以选择合并展示



4、列表操作
4.1 待采购
在待采购状态支持批量修改采购计划中的采购员、采购仓库、预计到货时间。创建好的采购计划会进入【待采购】页面,创建成功的计划系统会给其生成一个计划编号。
4.2 已处理
生成采购单的采购计划,会进入【已处理】页面。在已处理状态下支持批量修改采购员,可以查看采购单的供应商、计划采购量、采购单号、采购计划状态、采购单状态等。
4.3 批量删除
勾选采购计划可进行批量删除,支持删除关联的采购单已取消的采购计划。
4.4打印采购计划
支持打印或批量打印采购计划

三、常见问题
Q1:采购计划支持添加加工商品吗?
A1:支持添加,通过【采购】>【采购计划】添加加工商品。
Q2:采购计划中的计划体积、计划重量是取哪里的数据?
A2:计划重量、计划体积分别取自【商品列表】模块商品详情中默认装箱规格的【商品包装重量】和【商品包装规格】。
Q3:为什么有些采购计划在页面没有显示,导入采购计划还有批量修改的时候也没有想要选择的仓库?
A3:需要在子账号设置页面有勾选对应仓库的权限。
Q4:采购计划关联的采购单取消后,采购计划会回退吗?
A4:可以自行选择是否回退采购计划。

