一、功能说明
在系统完成授权店铺之后,在线产品页面会显示已授权店铺的亚马逊产品MSKU列表,包含ASIN、销量、Buy Box价格/运费、Buy Box资格、FBA库存数量等;
MSKU(Merchant SKU),指亚马逊卖家平台在线产品的SKU,赛狐系统中的SKU是用于本地商品管理的编码;
广告花费是表示由用户点击行为或亚马逊平台曝光而产生的费用;
“上架时间”为原先的“创建时间”。
二、数据来源及更新时效
1、数据来源
ASIN/MSKU、产品名称和价格来源:《所有商品报告》
父ASIN、优惠价、预计费用、buybox资格和价格来源:接口
销量、销售额、广告费来源:产品分析
星级评分、评分数、大小类目排名来源:由爬虫自动爬取,一天爬取更新一次。
2、更新时效
在线产品基本信息一天更新一次,大小类目一天爬取一次。
三、操作说明
1、同步产品
店铺授权后,第一次同步在线产品大约需要等待30分钟-1小时,之后点击【同步产品】会立即同步过来,同步产品之前,需要后台切换【数据源处理报告所使用的语言】,选择“English”。

(1)【同步】-同步产品,同步《所有商品报告》的ASIN/MSKU/父ASIN、产品名称和价格等,同步整个店铺的产品数据。
点击【同步产品】,选择需要同步的店铺,就能同步亚马逊产品。
同步产品后,可以查看商品的销量、销售额、星级评分、广告花费以及预计费用等数据。

【同步】-同步新品,可以选择对应店铺和对应msku进行同步,同步更加快速。

(2)单个同步产品/批量同步产品,同步产品的基本信息(接口拉取)、商品图片、优惠价、预估费用和FNSKU;
更加快捷方便,可以查看最新更新时间,初始化时最新更新时间为空,显示“-”,支持排序。

2、商品配对
a.本地商品与在线产品配对后,便于在线产品获取对应的本地商品的采购成本和头程费用,用于后期核算店铺或者产品成本利润;
b.商品配对后,可以支撑FBA仓库和本地仓库的对应关系,方便后期的采购、仓储、FBA发货补货等的统一管理。
2.1 单个商品配对
操作:选择未配对的产品,在操作列点击【配对】,搜索在线产品的品名/SKU,使本地商品与在线产品进行配对;
注:品名/SKU列显示对应的品名时代表是已配对;


2.2 批量配对
子体维度:勾选多个在线产品,点击下拉框,选择配对,选择与之相关的一个本地商品进行【配对】即可;

父体维度:勾选多个父体在线产品,点击下拉框,选择配对,选择与之相关的一个本地商品进行【配对】即可;
注:针对选中的父体对应的子体数据进行操作,跳过已删除状态的产品;当父体下有部分子体存在配对关系时会自动过滤,不覆盖原有的配对关系。

2.3 导入配对
①操作:点击【导入/导出】选择导入配对,下载导入配对模板,填写模板信息,上传模板文件,点击【导入】即可。
注意事项:
a.支持导入格式为xlsx的文件;
b.模板中的表头不可更改,不可删除;
c.数据记录不可超过1万条;
d.ASIN或MSKU与SKU对应关系多条时,取最后1条数据记录;
e .存在导入已配对ASIN或MSKU与SKU的对应关系时,会更新覆盖原有的对应关系;
f.当多个店铺ASIN或MSKU一样,系统会自动匹配同一个SKU。


②导入店小秘商品配对
因为店小秘有配对加速功能,所以可以先在店小秘配对完成后,再将配对关系导入到赛狐。
a.在店小秘完成商品配对,有3种配对方式:手动指定、自动识别配对、一键生成商品
店小秘入口:仓库>商品管理>商品配对>平台产品>选择亚马逊平台;


b.导出店小秘配对关系
选择“已配对”,导出产品,下载表格;
注意:店小秘平台店铺SKU就是赛狐的MSKU;
c.将配对关系导入到赛狐
在店小秘导出亚马逊配对关系后,按照赛狐的下载模板填写,导入赛狐即可。

2.4 自动识别配对
当MSKU和SKU一样时,系统可以自动识别商品SKU与在线产品MSKU进行配对。
注意:详情可见【配对设置】帮助手册.
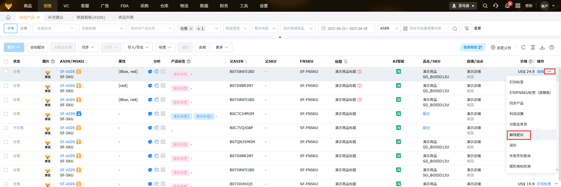
2.5 解除配对
①单个解除配对
点击“...”,选择【解除配对】。

②批量解除配对
子体维度:选择多个产品进行批量解除配对,解除在线产品与本地商品的配对关系。
父体维度:选择多个父体产品进行批量解除配对,解除在线产品与本地商品的配对关系。
注:针对选中的父体对应的子体数据进行操作,跳过已删除状态的数据。
3、分配业务员
更新方式支持覆盖和追加覆盖:会更新覆盖原有的业务员
追加:在原有的基础上,追加新的业务员。业绩归属:不改变原归属,若ASIN之前未分配,则追加后首位业务员为业绩归属人
3.1 手动分配业务员
勾选产品,点击【分配业务员】;支持多选业务员,如果选择多个业务员,需选择业绩归属,如不选择则默认归属于第一个人;
父体维度的批量分配业务员操作是针对选中的父体对应的子体数据进行操作,跳过已删除状态的数据;
可在【财务】>【业绩报表】看到业务员负责的产品和业绩情况。

3.2 导入分配业务员
操作:点击【导入/导出】,选择【导入分配业务员】,下载导入分配业务员模板,填写模板文件内容,添加模板文件,点击【导入】即可。
更新方式选择覆盖时,注意事项:
a.填写表格时,若业务员为空,则清除已分配的业务员;
b·重新上传后的业绩归属人,默认取第一个;
c·存在导入已分配的店铺+站点+ASIN和业务员对应关系时,会更新覆盖原有的对应关系;
d·填写表格时,若店铺+站点+ASIN和业务员对应关系重复时,取最后一条记录;
e·业务员为系统账号的姓名;
f·导入文件应为XLSX文件格式;
g·请按照模板内容填写,模板中表头信息无法更改和删除;
h·最多允许一次导入数据记录1万条;
更新方式选择追加时,注意事项:
a.导入前店铺+站点+ASIN无业务员时,导入第一条业务员为业绩归属人;
b.存在导入已分配的店铺+站点+ASIN和业务员对应关系时,会增加对应原有的对应关系(店铺+站点+ASIN上限5个);


4、产品标签
在【销售】>【标签管理】里设置标签后,可以通过手动打标、精准打标和自动打标的方式对产品打标。打标后,标签会随着产品数据出现在补货建议、产品分析等模块,可通过标签筛选快速查看数据。
注意:详情可见【标签管理】帮助手册。
4.1 手动打标
勾选产品,点击“标签”,选择“手动打标”,选择公共标签或者个人标签,点击确认。

4.2 精准打标
点击“标签”,选择“精准打标”;
注意:精准打标无论是否勾选产品都可以单独操作打标。
①筛选产品:筛选数据范围,设置打上标签的产品需要符合的数据表现;


②确认产品:勾选需要打标的产品;

③精准打标:选择公共标签或者个人标签,点击确定。
4.3 移除标签
勾选产品,点击“标签”,选择“移除标签”,可以对已经打标的产品进行标签移除。

4.4 自动打标
①点击“标签”,选择“自动打标”;
②选择标签维度、标签类型,添加标签;
③设置打标规则保存即可;

4.5 支持批量导入产品标签
操作:点击【导入/导出】,选择【导入产品标签】,选择导入的标签是新增还是要覆盖原来产品打上的标签,下载导入标签模板,填写模板文件内容,添加模板文件,点击【导入】即可。
注意事项:
a.导入文件应为xlsx文件格式;
b.最多允许一次导入数据记录1万条。
4.6 公共标签双重权限控制
在线产品打标操作权限支持【在线产品-手动打标/移除标签/精确打标】+【标签管理-公共标签/运营标签】进行双重权限管控,有公共标签管理权限才可以操作公共标签;
业务设置->销售->开启【在线产品标签权限】,则可以针对在线产品公用标签进行双重权限管控。

5、打印操作
5.1 打印商品标签
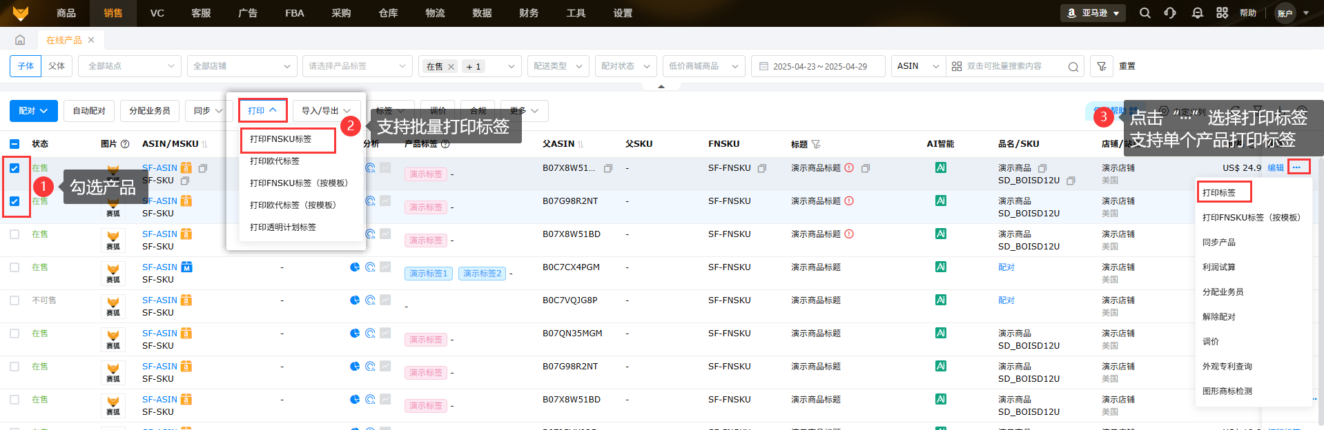
①勾选产品,点击“打印”,选择“打印FNSKU标签”,支持批量打印FNSKU标签;
②选择打印纸张类型、自定义内容、品名/SKU/MSKU、打印数量,点击【打印】。


5.2 打印欧代标签
①勾选产品,点击“打印”,选择“打印欧代标签”,选择打印纸张类型,勾选需添加打印的内容;
②编辑产品信息、代理商信息、制造商信息,上传认证图片(支持批量编辑,最多添加100张),选择打印数量,点击“打印”。
支持批量打印标签

5.3 打印透明计划标签

6、利润试算
点击【利润试算】按钮,可通过毛利润和毛利润率的情况试算出合适的价格去亚马逊调整售价。
注意:详情可见【价格和利润试算】帮助手册


7、调价和修改库存
系统支持单个或批量调整Listing价格和优惠价,批量修改亚马逊后台FBM库存的数量;调价或修改亚马逊后台FBM库存后,系统会自动生成相应的Listing变更记录,方便查看变更前后的数据对比。
7.1 在线产品修改价格
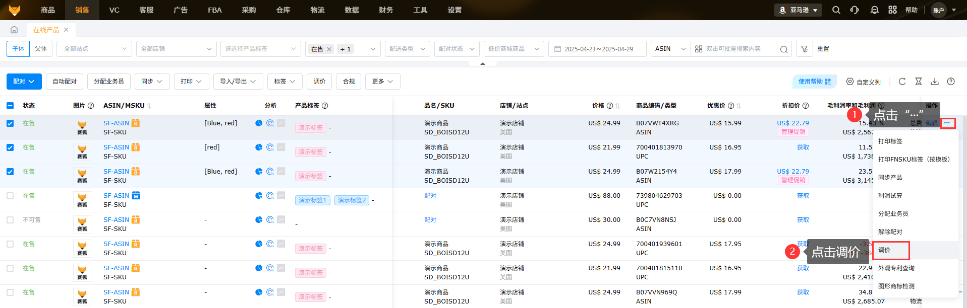
单个调整产品价格和优惠价:点击小铅笔快捷编辑价格和优惠价;点击产品右边三个点(更多),选择调价;
批量调价:勾选需要修改的产品,点击调价,支持批量调整在线产品的价格和优惠价。
注意:
a.每次最多可以操作200条。
b.默认调价幅度超过10%就会预警。



① 调整价格可选择按固定价格、按价格百分比调价、按价格金额涨价、按价格金额降价进行调价。

② 调整优惠价可选择按固定优惠价、按优惠价百分比调价、按优惠价金额涨价、按优惠价金额降价、按价格百分比调价、按价格金额涨价、按价格金额降价进行调价。
注意:如果填写了优惠价,则优惠日期必须填写。

页面点击优惠价的小铅笔可 直接设置优惠价以及设置优惠日期。

③ 运营笔记内容,运营笔记内容可以自定义添加,也支持批量自动生成,生成的格式,例如:“通过系统调整【价格:20】【优惠价:15】【优惠日期:2022-02-02~2022-03-02】”。

7.2 在线产品B2B调价和B2B价格删除
单个调整B2B价格:点击添加快捷编辑B2B价格;点击产品右边三个点(更多),选择B2B调价;
批量调价:勾选需要修改的产品,点击B2B调价。
注意:
B2B价格是当达到最低折扣购买数量时,所对应的B2B价格取值。


批量调价

进入B2B调价之后设置B2B价格
批量设置B2B价格后可批量设置折扣

设置的B2B价格批量删除

7.3 在线产品修改库存
在线产品支持修改亚马逊后台FBM库存。
注意:每次最多操作200条。


运营笔记内容可以自定义添加,也支持自动生成,生成的格式,例如:“通过系统调整【库存:10】 ”。

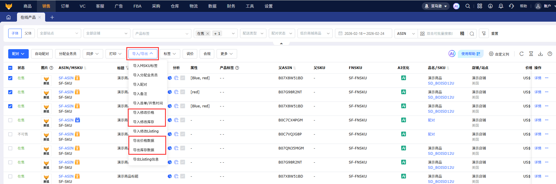
7.4 支持导入修改价格和库存
支持批量导入修改在线产品价格、优惠价、最低价格和最高价格、修改亚马逊后台FBM库存;
注:
1、每次最多只能操作5000条;
2、最高最低价的调整不触发超比例提示;
8、编辑首单/开售时间
首单时间:授权店铺后上架的产品的首单时间取自首笔订单的订购时间,老产品不会自动获取首单时间。
开售时间:支持手动编辑。
支持勾选产品批量编辑首单和开售时间,也支持列表单个编辑和导入数据操作。
9、Listing变更记录
入口:【销售】>【在线产品】>【Listing变更记录】
(1)调价、调库存、更新Listing的标题、五点、商品描述、Search Terms等信息后,自动生成相对应的Listing变更记录。
注意:只记录在赛狐调价的记录,不记录在亚马逊后台调价的记录。

(2)若Listing调整价格或库存失败,可以勾选相应的产品进行删除或者重新执行。
10、Listing状态监控
入口:【销售】> 【在线产品】>【Listing状态监控】

Listing状态:
正常:商品可正常售卖,前台和后台均可访问;
不可售:商品因缺货、价格问题或信息不全被暂停销售,但链接仍存在(显示“Currently unavailable”);
变狗:链接跳转至亚马逊404页面(带狗图片),可能因违规、技术问题或ASIN异常。
已删除:链接被卖家或亚马逊彻底移除,前台搜索不到,后台可能显示“删除”或“ suppressed”;

10.1 添加监控ASIN


10.2 展示监控ASIN信息
注意:最多监控300条ASIN
10.3 监控提醒
更新时间:15分钟更新一次;
需在【设置】>【业务设置】> 消息,开启Listing状态异常的提醒;开启后,Listing状态异常通过系统小铃铛提醒,同时还将推送到公众号、APP。
11、入库配置费计算器
入库配置费规格类型费率来自亚马逊后台的利润计算器,目前只针对美国站、FBA产品可用
操作入口:【在线产品】-【入库配置费计算器】

入库配置服务计算器,只能操作同个店铺的美国站点且FBA的产品;
通过亚马逊后台的物流收入计算器去获取商品尺寸和重量,支持手动修改尺寸和重量
物流费用方案为亚马逊优化后的货件拆分方案,可手动录入运输重量用于计算入库配置服务费
通过最优方案进行发货参考,点击创建货件即可
12、添加预警
勾选列表ASIN,更多-添加预警,勾选规则完成添加

13、导出、导入修改Listing
支持导出Listing的标题、五点、商品描述、Search Terms,单次最多导出1000条数据;
导入修改Listing的标题、五点、商品描述、Search Terms,导入修改成功后会记录在Listing变更记录里面,单次最多导出5000条数据。
14、删除亚马逊Listing
14.1 单个删除
14.2 导入表格批量删除

15、添加备注
15.1 单个添加
15.2 导入批量添加备注

16、支持编辑GPSR合规信息

17、编辑限购信息
勾选列表ASIN,点击更多,点击编辑限购信息,可以编辑产品最大订单数、订单处理时间以及库存调整。最大订单数、订单处理时间以及库存调整支持批量设置。


18、详情页
列表页支持同步产品、操作配对/解除配对、分配业务员
18.1 Listing
支持查看产品价格、五点等信息,可调用利润试算、侵权检测、AI生成工具
18.2 流量
大小类目排名:分别展示该ASIN的大类目排名和小类目排名,以及最近7天大类目排名和小类目排名的变化趋势图表;点击更多,即可查看该ASIN最近7天的运营复盘数据;
流量转化:仅美国站点的产品可以展示,该模块会展示该ASIN最近一周的品牌分析报告数据,展示数据转化漏斗、搜索词Top5转化占比 以及订单量Top5搜索词;
数据取自【数据】-【品牌分析】-【总览分析】页面

关键词排名:展示5条该站点下该ASIN在【关键词排名】页面的排名数据,并支持跳转至【工具】-【关键词排名】页面查看更多数据

18.3 竞对
BuyBox信息:当该ASIN未添加跟卖监控时或无该跟卖监控的权限时,数据取自【亚马逊-在线产品】列表;
若该ASIN有跟卖监控且有对应跟卖监控权限时,数据取自【工具】-【跟卖监控】;
跟卖信息:展示最新5条 该ASIN在【工具】-【跟卖监控】详情页的跟卖店铺页面数据;
①跟卖信息支持“隐藏排除项”,勾选后隐藏已设置排除的跟卖店铺数据;
②点击“跟卖信息”的更多,即可跳转至【跟卖监控】页面;
竞品对比:展示最近7天的5个竞品监控数据,包含大小类目排名和近30天订单量;点击更多即可前往【竞品监控】页面查看更多数据
18.4 评价
评价统计:展示该ASIN的Rating总数、Review总数和星级评分以及最近30天新增的数量,并展示最近6个月Rating总数、好评数和差评数的变化趋势①Rating总数和Review总数取自【客服】-【Review】-Review洞察页面,星级评分取自 【客服】-【Review】;
②最近30天无销量的ASIN会停止更新评价数据;更新时间是指最后一次抓取Review的时间;
买家评论见解:展示亚马逊后台-商机探测器-买家评论见解,正面主题和负面主题分别展示5条数据,统计数据的周期为最近6个月

评价明细:展示Review页面-评价明细页面,该ASIN最新的5条评价数据(按最新评价时间倒序展示),支持切换查看全面评价、正面评价和负面评价
正面评价是指4-5星的评价,负面评价是1-3星的评价;点击更多即可跳转至【客服】-【Review】的评价明细页面
18.5 变更记录
展示该Listing的变更记录,数据取自【Listing变更记录】页面支持筛选执行状态或变更类型查看变更记录,点击更多可以跳转到Lsiting变更记录页面查看详情

四、常见问题
Q1:单个同步产品和右上角“同步产品”按钮有什么区别?
A1:单个同步产品/批量同步产品: 同步产品基本信息(接口拉取),优惠价,预估费用,FNSKU;
右上角同步产品:同步《所有商品报告》的ASIN/MSKU/父ASIN、产品名称、价格;
Q2:大小类目排名,星级评分,评分数是多久更新一次?
A2:大小类目排名是一天更新一次,星级评分和评分数是一天更新一次;
Q3:怎么分配业务员?
A3:在【销售】>【在线产品】页面,筛选店铺或ASIN,勾选产品,点击“分配业务员”,分配给对应开了子账号的人员;
Q4:在线产品,部分产品没有展示的原因?
A4:1、亚马逊接口返回的商品报告有延迟,导致未同步;
2、【在线产品】高级筛选项,勾选了只展示最近90天有销量和最近90天上架的MSKU;
3、亚马逊Inactive状态的产品,无法进行同步;
4、受【设置】-【数据范围管理】权限配置影响;
Q5:在线产品,同步不到产品的信息?
A5:1、本身产品没有更新;
2、同步产品,未同步到;
3、对于不可售状态产品,无法同步对应更新的信息;
4、亚马逊后台未选择英语数据源处理报告所用语言;
Q6:预计费用为什么没有更新?
A6:预计费用的数据取自亚马逊后台的“费用一览”,如果系统没有更新可以去后台看下是否有更新。
Q7:为什么在线产品的一些ASIN同步不过来呢?
A7:有两种情况:
(1)如果ASIN的链接是刚刚在后台创建的,可以点击页面右上角的同步产品;
(2)该ASIN最近90天没有销量,筛选那里“只展示最近90天有销量”的选项勾选了,可以取消勾选。
Q8:产品已经解除配对关系,操作删除商品,为什么系统还是显示有配对关系,无法删除SKU?
A8:因为有部分未展示的MSKU还未解除配对,可以在在线产品把所有筛选项都取消,在筛选里取消勾选“只展示最近90天有销量和最近90天上架的msku”。
Q9:当MSKU和SKU是一模一样时,系统能自动识别商品SKU与在线产品MSKU配对吗?
A9:可以的,在设置>销售>配对设置里,开启自动识别配对;
Q10:在线产品有几种配对方式?
A10:有4种,单个配对/批量配对/导入表格配对/自动识别配对;
Q11:在线产品为什么listing不可售的图片未显示?
A11:在授权之前listing就是不可售的产品,接口是获取不到图片的;
Q12: 为什么后台修改了价格,赛狐这里没有自动更新的
A12:在线产品价格自动同步价格规则近90天有销量或者近90天上架,或者是还没更新到该店铺,这些都需要手动全量同步才能更新;
Q13: 亚马逊在线产品同一个产品为什么会有两个父aisn?
A13:因为报告里父aisn更新了,在线产品获取到的产品信息不会删除,所以会新增一条父asin,原父asin其实是删除状态,但是父体维度不会显示状态,所以会有两条数据,可以操作全量同步下,后续的子体数据都会关联最新的父asin;
Q14:在线产品为什么导出是个压缩包?
A14:在线产品页面导出,数据超过一万条就会按压缩包的形式导出。
Q15:亚马逊后台优惠价设置路径
A15:


Q16:埃及、比利时、印度站点产品支持编辑吗?
A16:不支持
Q17:编辑产品信息成功后,为什么亚马逊后台没有更新?
A17:亚马逊接口数据传后台更新在15分钟~48小时。





