一、功能说明
系统初始化汇率是以官方汇率为准,也可以自定义【我的汇率】,设置自定义汇率,设置后系统会以自定义汇率为准。
二、操作说明
1、系统汇率说明
1.1 官方汇率取“中国银联”外汇牌价的折算价,每天凌晨更新一次,历史数据取当月最后一天的汇率;
1.2 财务模块的汇率按月封存,上个月数据去取上个月最后一天的汇率作为上个月的财务核算的汇率,而当月的数据会取当月第一天的汇率;
1.3 数据/订单模块汇率:当月数据汇率:每天更新一次,当天凌晨更新前一天的汇率。历史月份数据汇率:修改对应月份汇率后,对应月份数据每15分钟更新一次。
2、汇率操作说明
2.1 汇率设置
(1)自定义【我的汇率】,入口:【设置】>【汇率设置】中右上角的“汇率设置”按钮进行汇率更改;
注:人民币CNY为主货币,无法进行编辑。
我的汇率有两种取值方式:
①按汇率折扣比例
设置后,【我的汇率】随官方汇率和设置的汇率折扣比例变化(即我的汇率=官方汇率*汇率折扣比例);
当开启“下个月延用此汇率取值”按钮时,表示之后每月的汇率折扣比例都为当前所设置的比例,关闭“下个月延用此汇率取值”按钮时,表示每月月初【我的汇率】自动同步为官方汇率。
②按固定值
设置后,当月【我的汇率】会保持不变;
当开启“下个月延用此汇率取值”按钮时,表示之后每月【我的汇率】都为当前所设置的固定值,关闭“下个月延用此汇率取值”按钮时,表示每月月初【我的汇率】自动同步为官方汇率。

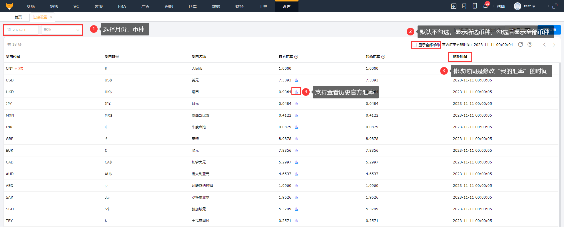
(2)右上角显示每日官方汇率更新时间;修改时间是修改“我的汇率”的时间;支持查看历史官方汇率。

2.3 同步官方汇率
若点击“同步官方汇率”,所选月份的“我的汇率”会与“官方汇率”保持一致。

三、常见问题
Q1:汇率后面的修改时间是更新时间吗?
A1:修改时间是手动修改 “我的汇率” 的时间。
Q2:汇率设置这里显示的官方汇率和百度搜索的不一样,系统的汇率是按什么时候计算的?
A2:赛狐系统里面的官方汇率是取“中国银联”外汇牌价的折算价,每天凌晨更新一次,当天凌晨更新前一天的数据,历史数据取当月最后一天的汇率。
Q3:上月修改了我的汇率,为什么这个月又变成了官方汇率?
A3:可以去【汇率设置】模块的“汇率设置”按钮,设置好我的汇率后勾选“下月沿用此汇率取值”。

