一、功能说明
此页面为卖家提供三种维度的费用诊断,分别是:在库丢失/损坏诊断、FBA运费差异诊断、FBA货件差异诊断,该服务将帮助您诊断在亚马逊运营中心或代表亚马逊操作的服务机构因仓库人员操作失误或不当所导致的异常费用问题。(其中包含但不限于,因亚马逊仓库人员操作导致丢失、残损的符合要求的商品或可能出现的费用)。您需要先签署一份《费用诊断使用协议》才可以使用这个费用诊断功能。
二、数据来源及更新时效
数据来源:
亚马逊在库丢失损坏通过库存分类账报告和亚马逊赔偿报告进行诊断;FBA运费差异通过亚马逊后台预估费用报告进行诊断;FBA货件差异通过FBA货件页面签收量、库存分类账进行诊断。
更新时效:
1、在库丢失损坏:通过亚马逊库存分类账报告获取丢失、损坏的FNSKU数据,生成可诊断数据。取报告时间:取近2个月(每周同步一次数据);索赔成功or失败状态更新 每4小时一次。
2、FBA货件差异:每8小时更新可诊断数据 索赔成功or失败状态更新 每4小时一次。
3、FBA运费差异:每天更新一次,更新最近2天的订单。
三、页面字段说明
1、诊断数据汇总
汇总在库可诊断商品数量、金额、数量和已提CSAE数量,方便卖家看到总体情况。
2、在库丢失/损坏字段
3、FBA运费差异诊断字段
4、FBA货件差异诊断字段
四、操作说明
1、在库丢失/损坏诊断详情
在亚马逊后台开CASE后会需要在系统回填CASE ID,这样才能在系统跟进
2、FBA运费差异诊断详情
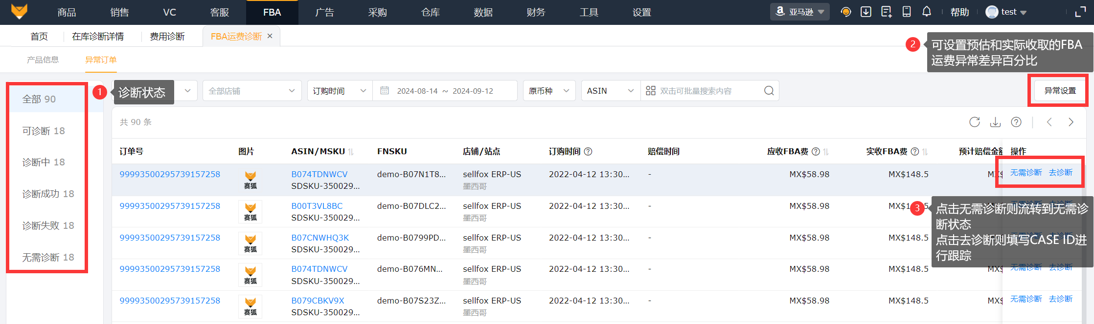
2.1异常订单页面操作

2.2产品信息页面操作
3、FBA货件差异诊断详情
①"显示签收量为0的数据"选项默认不勾选,勾选后页面会额外展示签收量为0的数据,也就是原数据+签收量为0的数据,同样也可以对签收量为0的数据进行绑定case id等操作。
②勾选后,左侧四种状态的右侧统计数字也会相应改变,且页面正下方的汇总也一并改变。左侧四个状态共用—种勾选结果,即:要不就都勾选,要不就都不勾选。
五、常见问题
Q1:“丢失Transaction ID”是取的哪里
A1:这个Transaction ID是对应库存分类账明细数据里的reference id字段
Q2:FBA运费差异的订单索赔时间窗口是多久?
A2:亚马逊政策规定,FBA 订单运费差异索赔请求应该在订单费用结算的90天内发起,超出这个时间则无法索赔
Q3:在亚马逊卖家后台处理索赔时,有哪些注意事项?
A3:1)同一 FNSKU 请不要在赔偿处理中或申诉失败时重复申诉;
2)不要在一个店铺下索赔另一个店铺的数据,请注意仅可申诉同一大区的商品;
Q4:货件差异诊断中,预计可诊断金额取值逻辑
A4:①取该条诊断数据产生时,对应赔偿报告该FNSKU下最近的一条赔偿金额
②赔偿报告没有,则取当时产生诊断数据试,在线产品价格-(销售佣金+亚马逊物流费用)

