多平台-平台仓
TikTok送货管理
分享
一、功能说明
TikTok送货管理可以展示跟踪每个送货单、包裹的收货数量、退货数量。方便卖家朋友能方便清楚的知道货件的运输情况,给其它备货工作起到参考作用。二、更新时效
自动更新:系统每30分钟刷新一次手动更新:通过页面上的“同步数据”按钮进行同步
三、页面操作
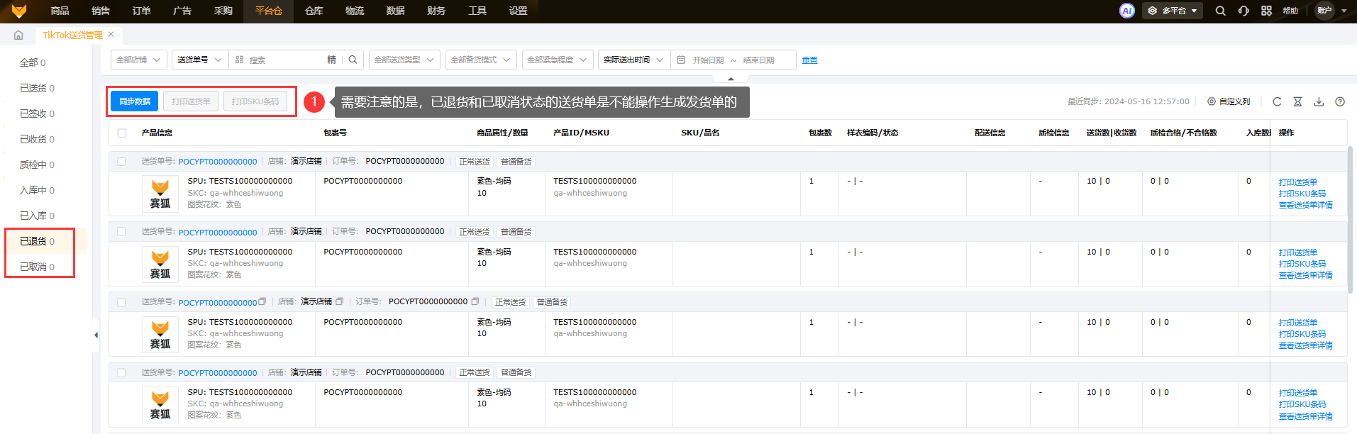
只展示已送货后的送货单跟踪情况,根据状态依次按顺序分为 已送货、已签收、已收货、质检中、入库中、已入库、已退货和已取消。

支持查看送货单详情和自定义打印SKU标签

四、送货单生成发货单


对于采购单价系统自动带出,取值逻辑为 1. 未发货:优先取发货单创建时库存成本 > 固定成本
2. 已发货:关联出库批次的加权平均成本

后续在多平台发货单页面点击发货单号可以看到费用分摊的详情信息

生成发货单后会处于待发货状态,操作发货即可扣除库存

如果单据比较多,想要一次性维护物流费用,可以使用导入功能,可选择按照发货单或者产品维度导入

如果单据还处于待发货状态,可以手动进行取消发货单

最后如果需要对发货单进行打印商品编码、GTIN码或者拣货单,可以下拉打印按钮进行操作


