一、功能说明
便于用户统一管理多平台的店铺其他费、产品其他费等费用;
在多平台利润报表以及各个平台的利润报表页面导入的费用会在费用管理里展示, 相应的在费用管理里导入的费用会在财务利润报表里体现,展示在自定义费用下。
二、字段介绍
勾选列表数据为相同费用类型才可进行批量编辑。
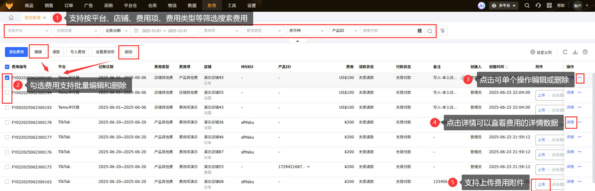
支持筛选站点、店铺、日期、费用项等查看数据,店铺其他费/产品其他费都允许多选,在搜索店铺或者产品时,只要该费用中有选择到该店铺或者该产品即可搜索出来;
支持自定义列以及导出数据查看;
支持上传费用附件。

三、操作说明
1、设置费用项
操作步骤:设置费用项→添加其他费用→填写费用项名称→保存
注:
①费用项最多可添加200个;费用项名称不能超过20字符;
②如果想要删除某个费用项,删除前需先查询已使⽤该费⽤项的费⽤,批量将该费用项修改至其他费用项再进行删除;

2、添加费用
操作步骤:【点击添加费用→选择平台→选择费用类型→选择分摊方式→填写费用信息→保存】
注:
①费用类型目前只支持店铺其他费和产品其他费
②添加的费用只支持计入财务利润,不支持请款;
③分摊方式支持选择均摊、销售额占比分摊、销量占比分摊,都是按照选择的分摊方式先分摊至店铺再分摊至产品;
④选择店铺时支持多选,将同一笔费用录入到多个店铺中;
⑤选择费用项时支持直接添加费用项,最多可添加200个;
⑥填写费用(点击“-”可切换为“+”,“-”代表支出,“+”代表收入),也支持进行备注;


3、导入费用
操作步骤:【点击导入费用→选择类型→下载更新模板→添加文件→导入】
注:
①导入模板支持导入不同平台店铺费用;
②导入支出时填负数,收入时填正数;
③导入数据仅支持单选店铺,且多次导入会累加;
④导入模板表头不可修改与删除,以免数据丢失;
⑤导入数据内容不能超过5000条,否则会报错;
⑥导入数据条数多时需要时间长,建议5分钟后再查看结果。
4、请款
添加费用时,入账方式有请款,才能做费用请款操作




