一、功能说明
物流组包可以将满足条件及状态的包裹进行组合,用于满足商家的不同的发货需求,目前支持的平台是Lazada、Shopee、AliExpress(自运营发货订单模式)和速卖通(全/半托管模式)。
注意:AliExpress和速卖通是同一个平台,赛狐以中英文的方式来区分该平台的不同模式。
二、权限说明
赛狐主账号和超级管理员都有物流组包的权限,子账号则需要权限授予,在 设置-角色管理 页面中编辑角色,选择亚马逊 物流-物流组包 权限进行勾选。

三、操作说明
1、支持组包的条件和默认限制
选择组包时,包裹和包裹的发货仓库和收货仓库必须相同才能进行组包(Lazada包裹的收货仓库取发货渠道),除此之外满足以下条件时会显示在可组包单据页面:
(1)Lazada平台:
①发货仓库为自营仓,物流渠道为线上发货,包表状态为已发货;
②发货仓库为三方仓,物流渠道为仓配分离渠道,包裹状态为物流下单-成功或已发货;
③其他限制:Lazada平台的组包不支持修改大包数量。
(2)Shopee平台:
①发货仓库为自营仓,且物流渠道为线上发货, 且包裹状态为已发货 ,且包裹是跨境发货;
②发货仓库为三方仓 ,且物流渠道为仓配分离渠道,且包裹状态为物流下单-成功或已发货,且包裹是跨境发货。
(3)AliExpress(自运营发货订单模式):
①发货仓库为自营仓,物流渠道为线上发货,平台为速卖通,包裹状态为已发货;
②发货仓库为三方仓,物流渠道为仓配分离渠道,平台为速卖通,包裹状态为物流下单-成功或已发货。
(4)速卖通(全/半托管模式):
①已经组包成功的速卖通全/半托JIT备货单;
②已经组包成功的速卖通全/半托仓发发货单。
除了每个平台不同的限制条件外,在提交组包后,组包单中默认一个交接单,一个大包;系统不限制小包的数量,可以为0,限制大包的数量上限为50个。
2、组包操作
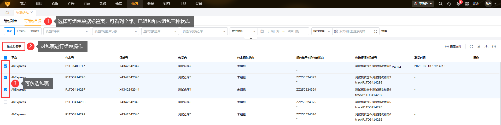
2.1生成组包单
勾选同一个平台的包裹,并且组包的包裹的发货仓库和收货仓库要相同(注意:是指包裹与包裹之间的发货仓库和收货仓库相同,例如1号包裹的发货仓库是A,收货仓库是B,那么2号包裹想要一起组包那包裹的发货仓库也必须是A、收货仓库是B),然后选择生成组包单。

2.2操作组包
生成组包后系统组包会流入待提交,在此页面可以删除组包、提交组包和看组包详情。

2.3取消和删除组包单
如果需要取消组包单,也就是取消交接单,需要到全部状态页面取消。

2.4提交组包单
填写提交组包信息。

2.5打印组包单
可选打印尺寸,此外如果提交的组包是自寄或者自送类型的话需要填写打印箱数。

2.6查看组包详情
组包详情可以看到组包中每个包裹的打印状态、订单号、包裹号、运单号、物流方式、称重重量和收件人信息,如果不想要某个包裹还可以操作移出。

四、常见问题
Q1:物流组包发货报错:Remote service error:下单店铺未加入商群,不支持跨店铺组包,请到“商群管理“页面申请加入商群后再重新组包。
A1:需要联系在线客服,由客服反馈产品经理处理。
Q2:提交组包报错:The input parameter “street” that is mandatory for processing this request is not supplied。
A2:后台要维护好地址信息再提交组包。

