多平台-平台仓
速卖通货件
分享
一、功能说明
同步在速卖通仓发备货单中创建的货件,在系统完成组包发货,商品入仓的操作。二、更新频率
每两小时同步一次数据,仅支持同步在赛狐创建的货件,速卖通后台创建的货件不支持同步。三、操作说明
1、权限设置
到【设置】-【角色管理】中找到子账号的角色,点击“编辑”,勾选上【平台仓】-【速卖通货件】的权限,点击保存。
2、数据展示
在多平台模式下,点击【平台仓】-【速卖通货件】进入页面,页面支持按照店铺、收货仓、单据类型、创建时间、货件编号和产品ID等信息筛选数据,列表页面展示系统创建的速卖通货件中的产品、发货量和签收情况等数据。
3、操作说明
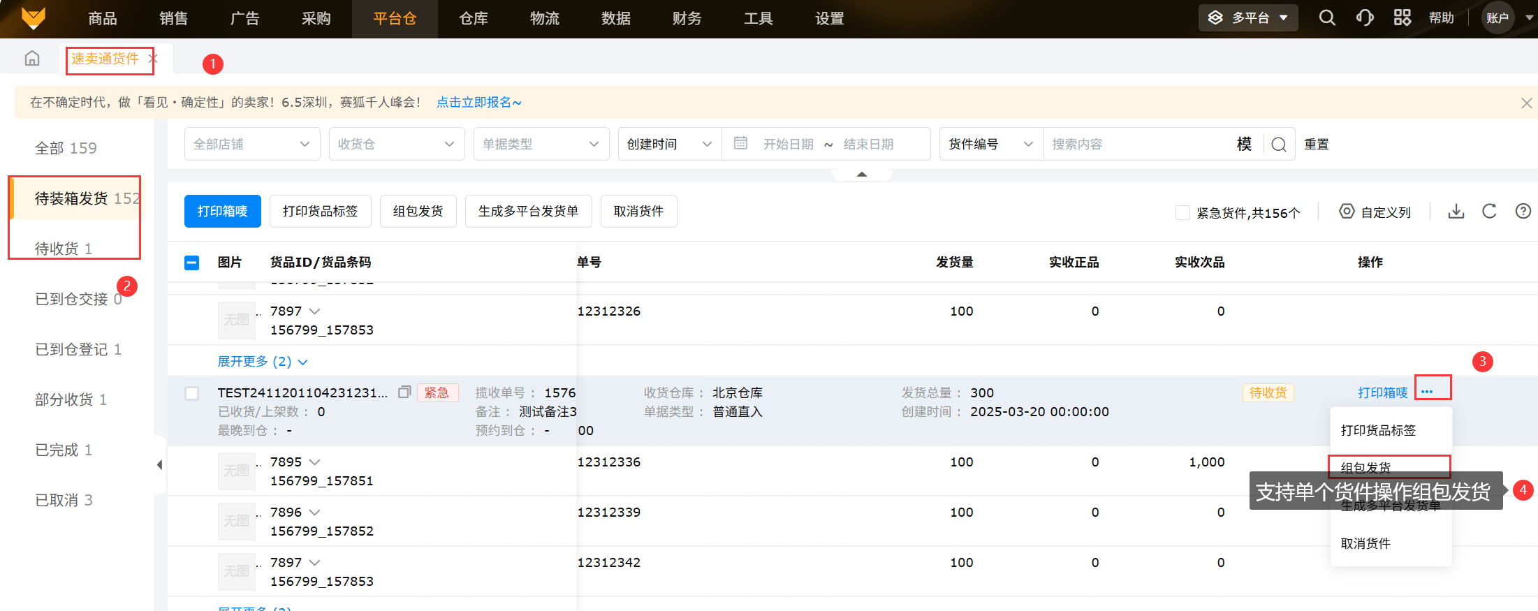
3.1 组包发货
在【待装箱发货】和【待收货】状态下,可以操作速卖通货件的组包发货,页面可以操作单个货件的组包发货,也可以批量勾选货件操作组包发货,在组包发货的详情页面中,可以填写发货的具体信息,在发货方式中可以下拉选择揽收发货、快递送仓和卡车派送或其他,可以根据自己的发货情况选择发货方式,其中提交店铺的设置,如果跨店铺组包时需要选择某一个店铺提交组包,若发货方式为揽收发货,则所选店铺为揽收费用扣除的店铺;其他必填信息根据不同的发货方式填写好后,点击确定完成组包发货,创建好的组包信息可以到系统的【销售】-【物流组包】中查看数据和操作打印揽收单/自送单面单。
(1)单个操作

(2)批量操作

3.2 打印箱唛/标签
在【全部】、【待装箱发货】和【待收货】状态下,可以勾选单据点击打印箱唛和货品标签,打印支持批量勾选货件操作打印,也可以单个备货单操作打印,打印操作时系统可以同步速卖通返回的标签模板信息,可以选择不同模板尺寸打印箱唛和标签
(1)批量打印


(2)单个打印

3.3 取消货件
在【待装箱发货】和【待收货】状态下的货件,可以勾选不准备发货的货件,操作“取消货件”,确定后同步取消速卖通后台的发货单,取消发货入库。
3.4 创建发货单
除了已取消的货件不支持生成发货单,其他状态的货件都支持生成发货单。
勾选货件,点击【生成发货单】,在创建发货单的页面中,选择好发货仓,填写商品的采购单价和物流费用信息,确认生成。



四、常见问题
Q1:速卖通店铺授权后,我后台之前创建的速卖通货件为什么系统没有同步过来?A1:页面只展示在系统创建的速卖通货件,后台创建的不会同步到系统展示。

